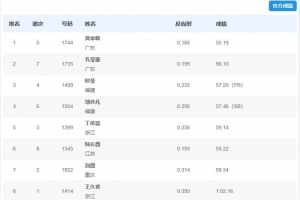
体育资讯11月17日讯 全运会田径女子400米栏决赛,莫家蝶以55秒19的成绩夺得金牌,孔莹蓥获得银牌,欧莹获得铜牌。
女子400米栏决赛成绩详情如下:
1 莫家蝶 55.19
2 孔莹蓥 56.10
3 欧莹 57.29(PB)
4 邹亦凡 57.46(SB)
5 丁依蕊 59.14
6 陆长薇 59.22
7 刘薇 59.34
8 王久香 1:02.16
上一篇: 决赛4道空缺!汪顺夺男子400混四连冠+全运第19金 18岁张展硕退赛
下一篇: 第五金!全运会体操女子平衡木决赛,柯沁沁夺得金牌
比赛中
11-17 20:00
国际友谊赛
肯尼亚
0
:
科摩罗
观看比赛:
高清线路
更多
亚海联
伊戈卡
贝尔格莱德游击
土乙红
布尔萨体育
费迪耶斯堡
塞尔维亚甲级联赛
特斯蒂拉
1
3
卡贝尔诺维萨德
维尔沙克
马茨瓦
NBA爵士vs凯尔特人直播
法甲图卢兹vs南特直播
IFK哥德堡利勒斯特罗姆今日赛事
葡萄牙女足U16vs瑞士女足U16直播
NCAA利普斯科姆勃大学vs贝尔蒙特大学直播
特拉华州立大学vs迈阿密佛罗里达直播
詹姆斯麦迪逊大学vs朗沃德大学直播
NBA凯尔特人vs活塞直播